Glass - Windshield for 2021 Chevrolet Silverado 1500
No.
Part # / Description / Price
Price
3
$62.83
3
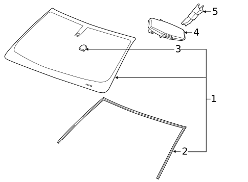
Mirror Inside
GM
GM Description: 2012-17, with light sensitive, without gps. Without PRE-CRASH. with auto dimming without camera display. 2012-17. without Onstar with light sensitive. With auto dim, without video display without G.P.S.
$174.92
$174.92
5
Black Inside Rearview Mirror Wiring Harness Cover
GM
GM Description: Without PRE-CRASH. without temp sensor. This GM Genuine Part is designed, engineered, and tested to rigorous standards and is backed by General Motors
MSRP $23.99
$18.79
MSRP $23.99
$18.79
6
Black Windshield Multifunction Sensor Mount Bracket Cover
GM
GM Description: Without PRE-CRASH. with temp sensor. Helps provide a finished interior appearance
This GM Genuine Part is designed, engineered, and tested to rigorous standards and is backed by General Motors
Collision parts are designed to help promote proper and safe repair
MSRP $14.06
$11.80
MSRP $14.06
$11.80
7
Black Windshield Multifunction Sensor Mount Bracket Cover Insert
GM
GM Description: Without pre-crash. Helps provide a finished interior appearance
This GM Genuine Part is designed, engineered, and tested to rigorous standards and is backed by General Motors
Collision parts are designed to help promote proper and safe repair
MSRP $8.43
$7.08
MSRP $8.43
$7.08
8
Humidity and Windshield Temperature Sensor
GM
GM Description: This GM Genuine Part is designed, engineered, and tested to rigorous standards and is backed by General Motors
MSRP $112.04
$61.34
MSRP $112.04
$61.34
No.
Part # / Description / Price
Price
No.
Part # / Description / Price
Price
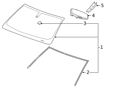
2
Mirror Inside
GM
GM Notes: PARTS: Order by description.
Description: 2012-17, with light sensitive, without gps. Without PRE-CRASH. with auto dimming without camera display. 2012-17. without Onstar with light sensitive. With auto dim, without video display without G.P.S.
$174.92
$174.92
No.
Part # / Description / Price
Price
No.
Part # / Description / Price
Price
2
Mirror Inside
GM
GM Description: 2012-17, with light sensitive, without gps. Without PRE-CRASH. with auto dimming without camera display. 2012-17. without Onstar with light sensitive. With auto dim, without video display without G.P.S.
$174.92
$174.92
No.
Part # / Description / Price
Price
2
Mirror Inside
GM
GM Description: 2012-17, with light sensitive, without gps. Without PRE-CRASH. with auto dimming without camera display. 2012-17. without Onstar with light sensitive. With auto dim, without video display without G.P.S.
$174.92
$174.92
No.
Part # / Description / Price
Price
No.
Part # / Description / Price
Price
2
Pontiac G5 G6 Bonneville Grand AM & Prix Interior Rear View Mirror OEM Genuine
GM
GM Notes: PARTS: Order by description.
$62.83
$62.83
No.
Part # / Description / Price
Price
2
Pontiac G5 G6 Bonneville Grand AM & Prix Interior Rear View Mirror OEM Genuine
GM
GM Notes: PARTS: Order by description.
$62.83
$62.83
No.
Part # / Description / Price
Price
No.
Part # / Description / Price
Price
No.
Part # / Description / Price
Price
3
Mirror Inside
GM
GM Description: 2012-17, with light sensitive, without gps. Without PRE-CRASH. with auto dimming without camera display. 2012-17. without Onstar with light sensitive. With auto dim, without video display without G.P.S.
$174.92
$174.92
No.
Part # / Description / Price
Price
3
Mirror Inside
GM
GM Description: 2012-17, with light sensitive, without gps. Without PRE-CRASH. with auto dimming without camera display. 2012-17. without Onstar with light sensitive. With auto dim, without video display without G.P.S.
$174.92
$174.92
No.
Part # / Description / Price
Price
No.
Part # / Description / Price
Price
4
Mirror Inside
GM
GM Description: 2012-17, with light sensitive, without gps. Without PRE-CRASH. with auto dimming without camera display. 2012-17. without Onstar with light sensitive. With auto dim, without video display without G.P.S.
$174.92
$174.92
No.
Part # / Description / Price
Price
No.
Part # / Description / Price
Price
4
Mirror Inside
GM
GM Description: 2012-17, with light sensitive, without gps. Without PRE-CRASH. with auto dimming without camera display. 2012-17. without Onstar with light sensitive. With auto dim, without video display without G.P.S.
$174.92
$174.92
No.
Part # / Description / Price
Price
Related Parts
Part # / Description / Price
Price

















